查看: 1586|回覆: 0
收起左側

[器材鑑賞] 封面特寫| 足夠“大膽”,才能突破Starke Sound SUB45

[複製連結]

發表於 2025-1-7 12:05:18 | 顯示全部樓層 |閱讀模式

馬上註冊,結交更多好友,享用更多功能,讓你輕鬆玩轉社區。

您需要 登錄 才可以下載或查看,沒有賬號?註冊

x
本文最後由 精研編輯部 於 2025-1-7 01:35 PM 編輯

封面特寫| 足夠“大膽”,才能突破Starke Sound SUB45
全文譯自:搜狐網
64d29119d23d4b1a8d4a7aec390cdd0e.jpeg

Starke Sound這個品牌,從寂寂無名到聲名鵲起,一直秉承的座右銘就是「Bold」。很多客戶,不太懂這個Bold的意思。 Bold,直譯是大膽、冒失。 蘊含著的意思是:不服氣,不認輸,如同年輕人一般的銳氣。我個人理解,體現在Starke Sound身上,就是要幹的比你好才罷休的意思。

Bold直譯是大膽、冒失
其實之前第一次聽到Starke Sound,就覺得這個品牌的聲音跟普通HiFi音箱不太一樣。聲音不僅大動態,大聲壓下還相當細膩。一般大動態的音箱,很難做到如此細膩,而細膩的HiFi音箱,又會壓縮動態。由此對這個品牌感興趣,慢慢深入進去,卻發現一個很有趣的現象。

Starke Sound揚聲器的強大在於,有力度有細節。就如同一輛車,既具有超跑一般的極致動力和操控,又可以達到上佳的舒適性。究其原因,和Starke Sound賴以起家的LMF完美磁場技術有關。 LMF技術將佔單體的磁場失真降至前所未有的水平,同時又別出心裁地採用整塊鋁板做前面板,在不計成本的同時,也確實大幅降低了產生「箱聲」的可能性。那是另外一種很容易出現的失真。

而後為了配合自家音箱,開發出來的A7後級與D7後級,也是同價位的佼佼者。 尤其是A7,Starke Sound 真的是貫徹“Bold”理念,做了一個和大多數後級都不一樣的A+AB類別架構。在此基礎上,Starke Sound再接再勵,推出HiFi後級A2,每聲道功率直增加至640W,在展會上搭配H2和H5的效果,讓對HiFi非常有興趣的我,中毒不淺。

從上述描述中,各位有沒有發現一個有趣的事實? 那就是Starke Sound的核心,其實是自家開發的磁路。然後從專利磁路開始,做自己的單體。然後為自己的單體設計最合適的分音器和箱體;音箱設計好了,就輪到了要做擴大機來匹配自家的音箱。那麼,下一步,很明顯應該是超低音了。然而或許很多人都注意到,Starke Sound目前只有兩把超低音,那就是SUB36和SW12P。兩款超低音口碑都相當不錯,尤其是SUB36,以低頻的質感著稱。

Starke Sound目前的音箱已經有林林總總20多個型號,對應不同的應用場合,無論如何兩款超低音是不是少了點!是Starke Sound不擅長做超低音?其實筆者一年多以前問過技術長Dan Wiggins這個問題:Starke Sound為什麼不多做些超低音呢? Dan的回答是:一開始團隊精力全放在做音箱上,希望把音箱做到盡善盡美。音箱做好,又發現後級這塊真的是塊短板,沒有好後級客戶那邊很難出好聲音,於是要儘早弄好後級。

那麼到現在,Starke Sound的產品線日趨完善,真正要補強的,就只剩下超低音了!我預感Starke Sound將會推出一個更高等級的超低音,來滿足比較極致的需求。然而我沒預料到的是,以「大膽」為座右銘的Starke Sound居然一口氣推出了5款超低音!定位從高到低分別是SUB45, SUB35, SUB35V,SUB24和SW12。而且絕非套娃式的設計,每一款都是完全不一樣的定位,技術上各有特點,尤其是SUB45,採用了一些全新的技術,既不曾出現在其他品牌超低音上,也從未出現在Starke Sound其他產品上。

全新的技術?我對此是有懷疑的。畢竟音響產業近50年沒太多像樣的革新。 對於超低音揚聲器,最大程度的革新無非是不同的箱體結構,擴大機從AB類擴大,到D類,再到H類,又或伺服技術。 。 。但這大都是20年前就有的東西拿出來重新排列組合罷了。功率越來越大,磁路也越來越威猛,但這都算量變,沒有質變。

看,SUB45的結構
先把核心技術放一邊,我們來看看SUB45的結構。從官方說明來看,SUB45採用了3個15吋單體,一個主動單體朝前,另外兩個平板式被動單體在兩邊。 SUB36採用的是雙主動一被動的結構,贏得聲音迅速、中低頻質感和彈跳感突出的口碑。為何SUB45 要改用一主兩被呢?在SUB45這種等級的超低音上肯定是不存在要省成本的想法。這個問題和新的單體所採用的不同技術有關,我們暫時把這個疑問放下,來看超低音擴大。
fccea230dabb46b6a38b2853574eda8c.jpeg

首先我想說的是,這超低音擴大也太威猛了!加厚的鋁板,是我見過的超低音板裡最厚的了,足足有25mm!

厚實的鋁合金CNC後蓋上,幾個金色的旋鈕很吸引眼球。除了常規的音量、分頻和相位以外,有一個大一點的旋鈕,標註著Flat-Punch。這究竟是什麼意思呢?隨附的包裝裡邊沒有找到對應的說明。上官網查詢,發現這還真是挺有趣的一個功能。 Flat,平直的意思,意味著平直的頻率響應;Punch,打擊力的意思。那麼這個旋鈕,實際上就是可以調節這個超低音的味道的,而且還是無極調節的!一般的超低音來說,可以說魚和熊掌不可兼得:例如JL,就是打擊力很強的超低音,但氛圍感不行;而Rythmik雷鳴的超低音,則是出了名的下潛好,氛圍出眾,但兩者不可兼得!

然而如果你買了SUB45,有這個旋鈕的加持,可以根據你的口味和需求來調節超低音的響應,從而得到完全不同風格的超低音!這下喜歡折騰的燒友有福了,燕肥環瘦,隨意挑選,今天玩打擊力,明天玩下潛;又或者多隻組合,有的負責打擊力有的負責氛圍。 。 。
8fbfebca238d4b5d9a56d5bdbf187a60.jpeg

然後是如此大的環牛標示2000W RMS功率,是時候看看裡面了。依照官方標示,這擴大峰值高達6400W,實際看完這超低音擴大,心裡頭確實很踏實。功率儲存足,為單體的發揮打下了良好基礎,大動態輸出不會軟腳。旗艦肯定得有旗艦的樣子。

磁路乾坤大
接上文的疑問,我就問,為什麼這次SUB45要放棄SUB36的雙主​​動,而採用一主兩被呢?還是要回到單體技術上來。 SUB45的磁路後面,有一堆技術名詞:NeoPower,N50H,Direct Drive,VLMF。什麼意思呢?簡單的說,就是採用了N50H釹鐵硼磁鐵的直接驅動磁路,同時採用了針對這個磁路改良的LMF技術。聽起來是不是很高大上,然而還是不懂?請容我一道來。

首先是N50H,是釹鐵硼磁鐵的標號。 NeoPower代表的是Starke Sound的釹鐵硼磁路。目前主要的磁鐵品種分為鐵氧體和釹鐵硼,之前還有釤鈷磁鐵,也有用電流勵磁來製造喇叭的。然而釹鐵硼出現後,大大超過了鐵氧體,釤鈷磁鐵和勵磁電流所能產生的磁場密度。

而釹鐵硼本身,因為應用的領域不同,所以對磁鐵的本身要求也就不一樣,所以就出現了型號。目前最普通的是N35 型號,對應要求越高就出現N38 N40 N42 N45 N50等等,德國和美國標號最高就是N50,日本能生產N52。同時,釹鐵硼用在不同的產品上需要耐溫需求,而普通的N35-N50 耐溫都是80度。對應的還有N35H-N50H , 帶H標號的釹鐵硼最高耐溫能達到230度。對於喇叭單體來說,音圈使用中會發熱,發熱超過80度是很可能的,那如果超過80度,不帶H標號的磁鐵就會發生退磁現象退磁就意味著你的喇叭單體在這個時候會遺失掉大部分的訊號,這樣肯定是不可接受的。所以Starke Sound選用的這個N50H,可以說是一個非常頂級標號的釹鐵硼。釹鐵硼被稱為磁王N50H可以說是王中王。 Starke Sound的NeoPower統一採用N50H釹鐵硼來製造,確保了高磁密度和高可靠性。

Direct Drive呢?這才是值得大書特書的技術。
270b53aff8a84f2d9d8c9b557e242b19.jpeg

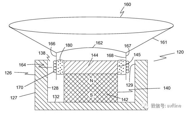
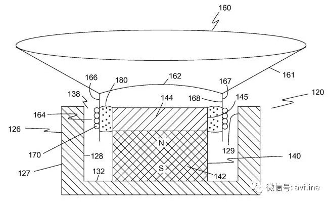
普通的喇叭結構,是這樣的。磁鐵一般是上N下S,T鐵中間的柱子把磁場的S極導到中間,然後上面的鐵片稱為導磁碟,是N極。

可以見到,SUB45的磁路由兩部分組成,主磁路是一個環形釹鐵硼磁鐵,內部是N極,外部是S極。 S極由導磁板導到中間,上部還加有釹鐵硼作為負磁。這樣,音圈在中間,N極為直接驅動,S極則形成了一個前後推拉的結構,極大的增強了磁力!官方給的數據是,這樣的磁路,居然讓磁路中的磁密度接近了10000高斯!要知道超低音的磁間隙是相對很大的,在高音這種微小磁間隙中做到10000高斯已是鳳毛麟角,超低音要做到這種磁密度簡直聞所未聞!大的磁密度, 如同發動機的馬力,現在SUB45這台發動機,已經做到了前所未有的超級馬力。
ff78087c7fc44b8591f920bd2b1c1443.jpeg

大家先可以發現,普通喇叭的N極和S極,都是由鐵來導磁,導過去,必然有損失,不直接。 SUB45的Direct Driver直接驅動磁路,字面意思就標明了,它是由強力磁鐵來直接驅動的!我收到了廠商寄來的磁路圖。

這也回答了我之前的疑問,為什麼只用一個主動單體。 因為這一個主動單體太強大了,一個強大的單體,就需要更多的容積,SUB45必須要控制體積,同時做兩個被動盤也可以進一步增加等效容積來滿足NeoPower單體的呼吸空間!當然同時這一個單體的能量也讓我們不再需要兩個單體,已經夠強悍。各方面來說一主兩被才是最合理的設計。
b136314556a943d9943b8832882c443d.jpeg

巨大的電容陣列
同時,由於SUB45的環形磁路高達80mm,這也意味著,音圈在磁路裡無失真的線性衝程可以達到80mm!而實測的衝程達到了125mm,代表著極高的無失真SPL輸出!而VLMF代表Verticle LMF,是指優化處理的方向是和LMF垂直,因為磁路垂直過來了!說到這裡,我已經對Starke Sound所宣稱的全新技術心服口服。這不僅是全新技術,也是最核心的單體磁路的全新技術!
933d64d8eab8483592c40e612599811a.jpeg

反裝的Hypex模組,這樣可以讓擴大模組更貼近外部巨大的鋁板,增強散熱效果。查詢了下,這Hypex2K模組,單賣要500多歐元,也就是光這個模組就價值4000多人民幣,可見這塊超低音板的總造價不菲。

廠商驕傲地宣稱:
  • NeoPower和VLMF都已在美國申請了專利;
  • 環形磁路如何充磁是個秘密,全世界只有屈指可數的幾家做頂級電動機磁鐵的廠家可以做到。看來,模仿製造絕非易事,難怪可以那麼大膽地揭露出來。

除了高SPL輸出和低失真,我也特別想了解一些做到大動態和高音質過程中的一些細節問題。畢竟過去的經驗顯示,數據高,不一定聽感就好。雷鳴的超低音指標很高,可是不少人說軟;JL的超低音衝程很長,可惜很多人認為氣氛感不夠。 SUB45既然有一個如此創新的單體,能解決這些問題麼?

Dan和我說了很多,Spring Qin也給我做了不少解釋,不過我總結下來有這麼幾個要訣:
  • 內部EQ不是好東西,Starke Sound的原則是盡量不用。這內部EQ指的是低音內部的廠商預設EQ,一般廠商都要採用這個來平整頻響曲線。 Starke Sound認為如果用內部EQ,例如20Hz不夠拉起來5dB,那麼整體動態就要損失5dB!其實這也很好理解,就是木桶原理,裝多少水,永遠是最短的木板決定的。同時EQ也會導致時域的混亂,帶來相位問題。
  • 由於不採用內部EQ,所以對單體的要求更高,單體要在20-100Hz有很平的響應,而且是自然的!這點一般人都做不到,還好Starke Sound的長處就在於自己的單體技術,所以可以針對性的解決這個問題。

一個自然響應得到的結果就是最大化的動態和正確的低頻相位。聰明!可惜一般人都學不了。
f30fe952c1fa4da58cdad489928a6a1d.jpeg

e16eeb73753746cab96a8671ece86dd8.jpeg

SUB45帶包裝的運輸重量高達140kg,所以採用了全木的包裝箱,同時包裝箱標配四個輪子,方便推動。同時SUB45本身也標配4個磁吸輪子,可直接從包裝中拉出,調試擺位也很方便。如若調試到位,磁吸的輪子向下一拉即可取出,由腳釘落到地面。如需再次移動,可把磁吸輪子再次裝回,整個過程都相當方便省力,對細節的考慮對這個級別的低音的使用者可謂相當貼心。結合了超大功率的擴大和變態SPL輸出的單體的SUB45,同時對聲音的相位這種細節吹毛求疵。我們有理由對SUB45的聲音表現和市場表現充滿極高期待!

在筆者正在撰寫本篇文章時,美國傳來喜訊:SUB45擊敗了本年度其他20多款超低音,獲得了CEPro Best(美國消費電子最佳獎)!

美國編輯在得獎說明裡寫道:
「Reading and learning about SUB45 has been amazing. Three 15-inch drivers (1 active, 2 passive) Built-in 2500-watt Class H amplifier (6.4 kW peak) 3 dB down at 14 Hz (!); 14 Hz ( ; $6960; 203 lbs.Neodymium magnets for the woofer are N50-rated. Nothing this strong 有 been used before in a speaker.”」

「光是讀到和了解SUB45的參數就令人興奮。3個15寸單體(一主兩被),內建2500W ClassH擴大機(6400W峰值);±3dB直下14Hz;最大SPL輸出130dB;價格$6960;淨重203 lbs。釹鐵硼磁路是N50等級的。還從來沒有如此強勁的磁鐵磁路被用在一個音箱上。 」
78fa0be547bf4b778be058600f4d4ff8.jpeg

是的,從來沒有人把如此強勁的磁鐵用在音箱上!結合了超大功率的擴大和變態SPL輸出的單體的SUB45,有真正「Bold」的創新。我們對SUB45的市場表現充滿期待!

SUB45的主動單體是碳纖維三明治單體。取碳纖維的剛性,又有蜂巢的高阻尼特性,這樣才能承受大功率大動態而不會有分毫變形。 側邊被動盤也是碳纖維三明治,但是是平面。相較於鍋底盆,平面蜂巢盆能最大程度的增大超低音內部的有效容積,看的出來SUB45的整體都是為了最優化的性能在服務,單體有了足夠的呼吸空間才能夠充分發揮。

您需要登錄後才可以回文 登入 | 註冊

本版積分規則

熱門推薦

StormAudio ISR Fusion 20:力量、精準與聽覺新典範—Thrillcat Cinema Lab
StormAudio ISR Fusion 20
StormAudio ISR Fusion 20:力量、精準與聽覺新典範—Thrillcat
Barefoot Sound Footprint03:最先進的錄音室監聽進化之作
Barefoot Sound Footprint
Barefoot Sound Footprint03:最先進的錄音室監聽進化之作—Swee
MadVR Experience Center 家庭劇院導覽:瘋狂的11.11.6 聲道的沉浸體驗
MadVR Experience Center
MadVR Experience Center 家庭劇院專訪:瘋狂的11.11.6 聲道的沉
規格總覽|Barefoot Sound Footprint01 與 Footprint02 第二代錄音室監聽揚聲器—Vintage King
規格總覽|Barefoot Sound
規格總覽|Barefoot Sound Footprint01 與 Footprint02 第二代錄
寬敞,明亮,面面俱到!新竹Storm Audio風暴/Ken Kreisel為全家人打造的8.2.2.4雙中置客廳劇院溫馨開箱~
寬敞,明亮,面面俱到!新
寬敞,明亮,面面俱到!新竹Storm Audio風暴/Ken Kreisel為全家

聯絡我們| 問題反映| 小黑屋| 手機版| Archiver|  本網站特別聘請 蔡家豪律師 為本站法律顧問

快速回覆 返回頂部 返回列表